Mobile information system for seed production processes in gene banks, CIAT study case

Main Article Content

Diego Fernando Gonzalez Monroy
Angela Marcela Hernandez Arbeláez
Liliana Esther Machuca Villegas

Abstract

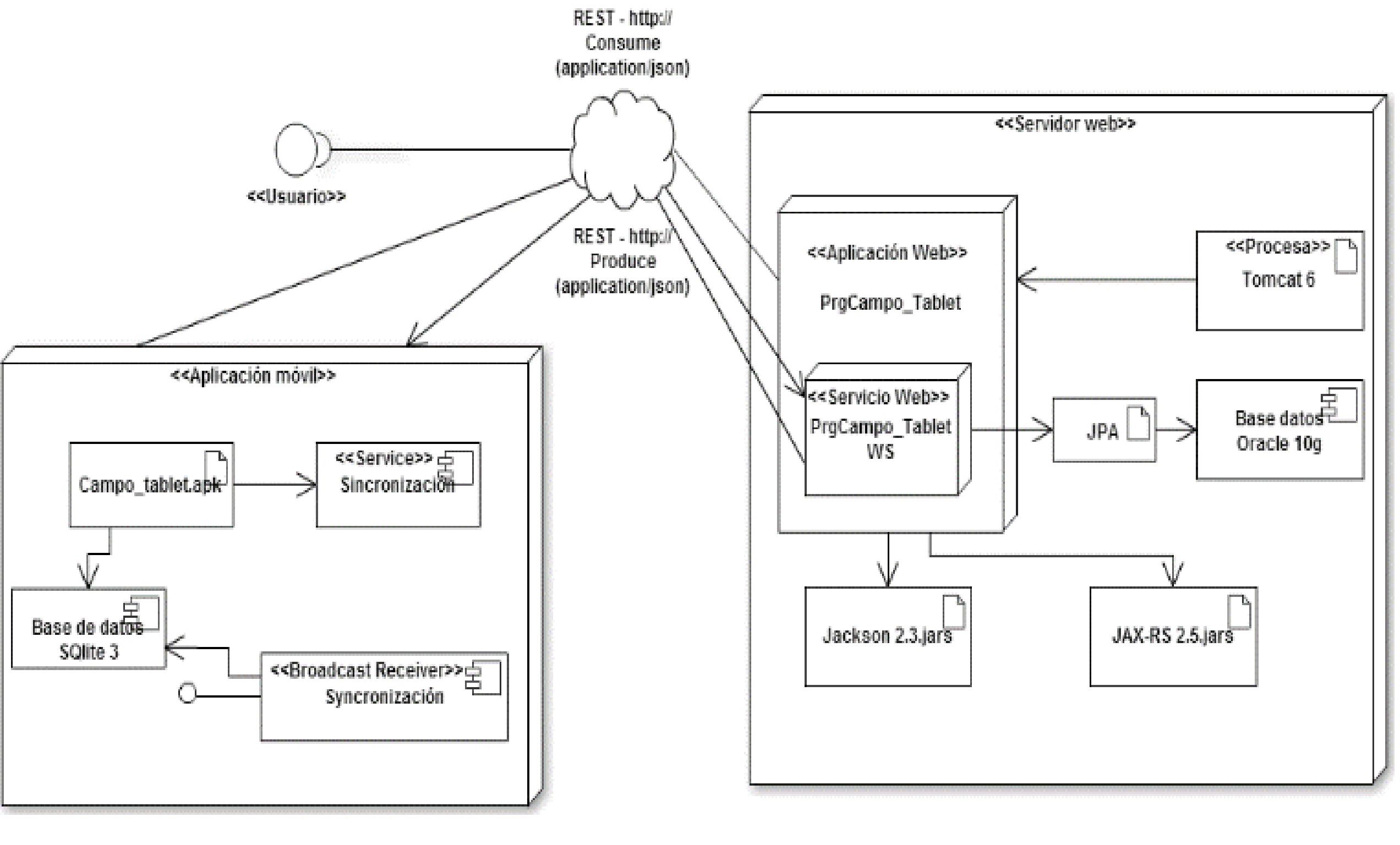
This article is an extension of the research results presented on the Workshop on Information and Communication Technologies Applied to Agriculture (TIC-@GRO 2015). This time, details are provided about the way the mobile information system has been developed for seed production processes at gene banks. Processes conducted before in seed production are described, including the way such processes demanded a need for managing information in a reasonable, organized, updated, and accurate manner. The development of a mobile computation system is described as an indispensable element for a mobile information system which integrates elements of software, hardware, mobile devices, human resources, management, and information control; this results in characteristics of a documentation system for gene banks.


How to Cite
Gonzalez Monroy, D. F., Hernandez Arbeláez, A. M., & Machuca Villegas, L. E. (2015). Mobile information system for seed production processes in gene banks, CIAT study case. Revista Ingenierías Universidad De Medellín, 15(28), 197–216. https://doi.org/10.22395/rium.v15n28a10

Article Details

References

[1] Rao, N. K., J. Hanson, M. E. Dulloo, K. Ghosh, D. Novell y M. Larinde. 2007. Manual para el manejo de semillas en bancos de germoplasma, Manuales para Bancos de Germoplasma N.° 8. Bioversity International, Roma, Italia.

[2] Painting, K. A., Perry M. C., Denning, R. A. y Ayad, W. G. 1993. Guía para la Documentación de Recursos Genéticos. Consejo Internacional de Recursos Fitogenéticos, Roma.

[3] Crop Genebank Knowledge Base (2014), Procedures, Characterization homepage cropgenebank [online], Available: http://cropgenebank.sgrp.cgiar.org/index.php/procedures-mainmenu-242/characterization-mainmenu-205

[4] Rife, Trevor W.,Poland, Jesse A., Field Book: An Open-Source Application for Field Data Collection on Android,Crop Sci. 2014. 54:1624–1627. doi:10.2135/cropsci2013.08.0579

[5] International Rice Research Insitute (2014), (IRRI), Products. Homepage bbi.irri [online], Available: http://bbi.irri.org/products

[6] The James Hutton Institute (2015), Information & Computational Sciences. Homepage ics.hutton.ac.uk [online], Available: http://ics.hutton.ac.uk/germinate-mobile/

[7] González Monroy, D. F.; Hernández, A. M.; Machuca Villegas, L., 'Experience in Improving the Seed Production Process Through Mobile Devices in Plant Genebanks,' presentado en 1er Workshop de Tecnologías de la Información y la Comunicación aplicadas a la Agricultura (TIC-@gro), Popayán, Colombia, 2015.

[8] J. A. O’Brien y G. M. Marakas. Sistemas de información gerencial, 7ª ed., México: McGraw-Hill, 2006, 592 p.

[9] The Crop Genebank Knowledge Base (2015), Regeneration, Homepage cropgenebank.sgrp.cgiar.org [online], Available: http://cropgenebank.sgrp.cgiar.org/index.php/procedures-mainmenu-243/regeneration-mainmenu-206

[10] The Crop Genebank Knowledge Base (2015), Characterization, Homepage cropgenebank.sgrp.cgiar.org [online], Available: http://cropgenebank.sgrp.cgiar.org/index.php/management-mainmenu-433/transgenes-mainmenu-546/characterization-standards

[11] González Monroy, D. F.; Hernández, A. M.; Machuca Villegas, L., 'Mobile computing system to support the management of the seed production process in crop genebanks,' Computing Colombian Conference (9CCC), 2014 9th, vol., no., pp.109, 114, 3-5 Sept. 2014

[12] Oracle (2015), Java EE, Java Server Faces Technology [Online], Available: http://www.oracle.com/technetwork/java/javaee/ javaserverfaces-139869.html

[13] Jackson Project Home (2015), Jackson, Jackson home [Online], Available: https://github.com/FasterXML/jackson

[14] Oracle (2015), Java EE, Java Persistence API [Online], Available: http://www.oracle.com/technetwork/java/javaee/tech/persistence-jsp-140049.html

[15] SQLite (2015), SQLite, SQLite home [Online], Available: https://www.sqlite.org/

[16] González Monroy, D. F.; Hernández, A. M.; Machuca Villegas, L., Aplicación móvil de captura y sincronización de datos para la producción en campo e invernaderos del programa de recursos genéticos del CIAT, Universidad del Valle, 2015, Cali, Colombia.
Author Biographies

Diego Fernando Gonzalez Monroy, Centro Internacional de Agricultura Tropical

Ing. en Sistemas, Analista de sistemas del programa de recursos genéticos en el Centro Internacional de Agricultura Tropical

Angela Marcela Hernandez Arbeláez, Centro Internacional de Agricultura Tropical

Magister in Management of Information Technology and Telecommunications, Analista de sistemas del programa de recursos genéticos en el Centro Internacional de Agricultura Tropical

Liliana Esther Machuca Villegas, Universidad del Valle

Magister en Ingeniería. Profesora Asistente de la Escuela de Ingeniería de Sistemas y Computación. Facultad de Ingeniería, Universidad del Valle